3 、 复位电路
CPU复位电路分为2部分,一是在系统上电或电源异常又恢复时使CPU自动复位;另一部分是在软件运行异常出现系统死机的情况下,用户可通过按后面板上的复位开关来使CPU复位。

复位信号是由一个十分简单的RC电路、按钮开关来产生。当系统上电或人为按下复位开关,会产生一个低电平脉冲,该脉冲经过数字门电路整形后使CPU复位,进行初始化。
HC132是一CMOS逻辑门电路,工作电压2-6V,其输入/输出的逻辑关系如下图表所示:
在路由器电路中,利用门电路的输入高电平有电压最小值、输入低电平有电压最大值的特点和门电路的整形作用,与周边二极管和电容、电阻组成上电脉冲产生电路,产生系统复位脉冲信号。
4 、 时钟信号
EA-2204电路中,共用了4个晶体振荡器,分别提供各部分IC工作所需的时钟信号。
50M―CPU电路S3C4510B01主时钟 25M―交换控制器RTL8305S时钟
20M―以太网控制器RTL8019AS时钟
7.372M―异步串口通信芯片TG16C550CJ时钟
5 、 CPU
EA-2204路由器的核心是一颗韩国三星电子生产的S3C4510B―16/32位RISC(精简指令集计算机)微控制器。该微控制器专为以太网通信系统的集线器和路由器而设计,具有低成本和高性能的特点。
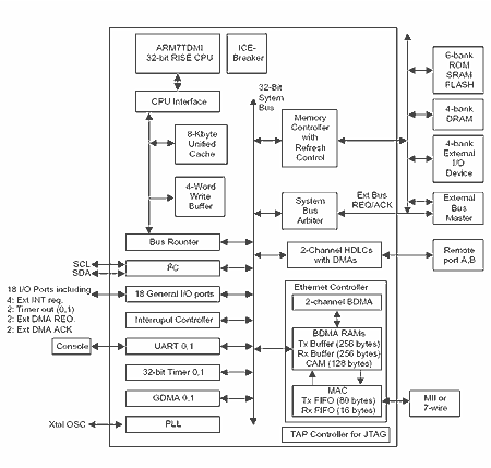
S3C4510B中内置了ARM公司设计的16/32位ARM7TDMI处理器,其内部框图如下:

由图可见,S3C4510B提供了8K字节的Cache(高速缓存)和以太控制器,内置2通道的HDLC(高级数据链路控制),2个UART(通用异步收发)通道,内置32位定时器和18个通用可编程I/O端口。S3C4510B内部采用32位系统总线,有I2C接口,还集成了中断控制器、DRAM/SDRAM控制器、ROM/SRAM和闪存控制器。以上功能特点均集成在此单芯片中,作为路由器的核心,可大大减少系统成本。
软件方面,S3C4510B因内置ARM7TDMI核,可以执行32位的ARM指令,也可执行16位的THUMB指令。
S3C4510B采用3.3V电压供电,208脚的QFP封装,操作频率最高达50MHz。EA-2204中采用50MHz外部频率,因S3C4510B内部有锁相环电路可将外部振荡频率提升5倍作为内部系统时钟,所以内部最高频率实际上已达250MHz!

|