Xeon平台兵力配置分析
而Intel这边,处理器方面,32位平台以Xeon以及Xeon MP两个系列对抗。前者只支持两个物理处理器,而后者可以在4?8个物理处理器的情况下使用。
与Opteron系列不同的是,在Intel Xeon(MP)阵营里,各款处理器缓存的容量存在一定的差异,这是需要大家特别注意的一个区别。在Xeon系列中,3.06G以下频率的就只带512KB二级缓存,同时3.06G的Xeon也被分为带1MB三级缓存的版本和不带1MB三级缓存的版本。当然,在64位平台上,还有安腾系列,但安腾平台并非本文的重点。目前为止,根据Intel官方所公布的最新数据,Xeon(MP)各款处理器的具体参数如下:

其余处理器参数与P4相比变化不大,在此就不重复列出了。
本次强氧科技送测的整机配备的是两块2.4GHz的Xeon处理器。
从Xeon以及XeonMP的数据来看,在Presccott核心对应的XEON推出之前,Intel目前主要是实行处理器频率提升与缓存容量增加两手抓的方针来应对Opteron的攻势,稍嫌消极。
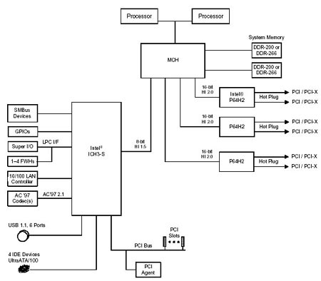
芯片组方面,Intel在Xeon(MP)平台上目前主要依靠较新的E7505、E7501两个系列的芯片组,其中E7501从参数上看,主要由E7500增加支持的前端总线频率为533MHz而来,他们的结构图如下(由于同E7501类似,因此不重复贴出E7500的相关内容):


E7505、E7501系列芯片组结构图
图中可见,为了满足服务器、工作站市场的需求,除了通过Hub interface1.5接口连接传统的南桥之外,E7505、E7501、E7500均可通过数个Hub interface2.0接口连接82870P2 PCI?X功能扩展芯片实现对PCI-X的支持。它们的具体特性如下:

由特性表可见,与Opteron平台相比,除了缓存容量和处理器频率以及PCI-X功能扩展之外,Xeon平台的参数略显保守。而本次我们收到的强氧科技送测样机配备的,则为一块MSI基于E7505芯片的E7505 Master2-F。
参测双处理器系统介绍
下面,我们进入硬件实物的展示环节。本次测试,我们收到了来自强氧科技的两台双K8、双Xeon主机,下面是这两款整机的外观酷照:
首先是配备了双Opteron242、4条512MB ECC Registed DDR266内存,以及Quadro FX1000显卡的强氧整机登场亮相。

图为:双Opteron整机
随后是配备了双Xeon 2.4G处理器、4条512MB ECC Registed DDR266内存,以及Quadro FX1000显卡的强氧整机。

图为:双Xeon整机
两款主机分别采用双Opteron242以及双Xeon 2.4G处理器,下面是它们的对比图:

Opteron242和Xeon 2.4G对比
使用的主板,则分别是上文提及的MSI微星科技 K8T Master?2 FAR双Opteron主板,以及同为MSI产品的 E7505 Master2-F双Xeon主板。


图为:两个平台所使用的主板
两款整机的主板分别采用了K8T800+VT8237的南北桥组合以及E7505+ICH4的南北桥组合。不过配用双Xeon处理器的MSI E7505 Master2-F主板由于市场定位问题,因此并没有使用PCI-X扩展芯片。